Спортивный комплекс СК-011
Артикул СК-011
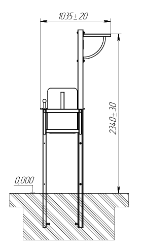
Характеристики
- Габаритные размеры : 1035х2140мм
- Высота: 2400мм
- Дополнительная информация: комплектация и цветовое решение согласовываются с учётом индивидуальных пожеланий заказчика.
Детальная информация



